NORELEM
Système de bridage réglable
Le système de bridage réglable est utilisé pour des pièces nécessitant des points de bridage supplémentaires aux points d'isostatisme traditionnels.
Montage :
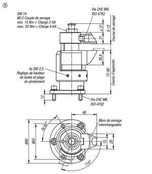
Forme A :
Fixer le système de bridage réglable par l'intermédiaire d'un taraudage M12. Régler la hauteur de butée et la plage de pivotement à l'aide de la douille de réglage rouge, bloquer avec la vis à six pans creux (3x SW 2,5). Lors du réglage de la limite de hauteur, veiller à laisser un jeu vers le haut suffisamment important.
Pour un parfait fonctionnement, le taraudage M12 doit toujours être obturé. Les mors de serrage en série peuvent être modifiés ou échangés pour s'adapter au besoin spécifique du client.
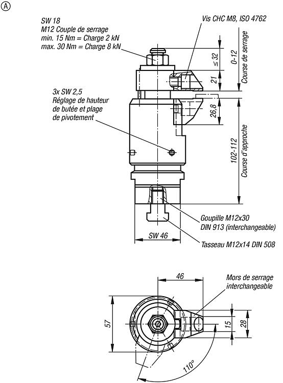
Forme B :
fixer le système de bridage réglable sur le dispositif à l'aide de l'alésage de fixation pour M6.
Régler la hauteur de butée et la plage de pivotement à l'aide de la douille de réglage rouge et serrer avec la vis sans tête (4 x SW 2,5). Lors du réglage de la limite de hauteur, veiller à laisser suffisamment de jeu vers le haut.
Les mors de serrage de série peuvent être modifiés ou remplacés pour correspondre aux besoins spécifiques du client.
- bridage
Matière :


English 













