NORELEM
lockable indexing pin inch
Lockable indexing fingers are used when it is necessary to prevent movement of the stopping position due to transverse forces. Rotating the latch 180° causes the stop finger to retract, allowing the stop position to be changed. The stop notch makes it possible to maintain the lock in this position and the stop pin retracted.
Matter :
Lock 1.0503.
Threaded socket and indexing pin, turning steel.
Compression spring 1.4310.
PA thermoplastic locking cap.
Finishing :
Burnished threaded body and lock.
Stop pin hardened, ground and burnished.
Polished compression spring.
Locking cap: - dark gray RAL 7021.
Benefits :
- Rotating the lock 180° causes the stop finger to retract.
- Mounting on the thread.
On demand :
Special releases.
Accessories :
Indexing pin holder 03099.
Positioning sleeves 03099-50, 03099-60, 03099-61.
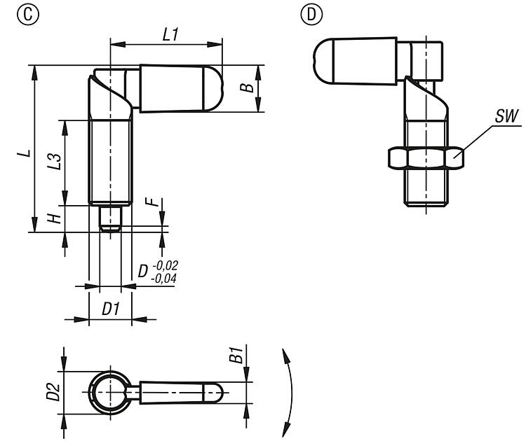
Drawing reference:
- Form C: with locking cap, without locknut
- Form D: with locking cap, with locknut


Français 


















